Coordinate Conventions in Prism


Unless otherwise specified:

  • Scales are in cm

  • All angular coordinates are in degrees


  1. Patient space and couch space

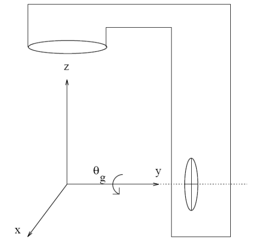
Geometric data describing the patient’s anatomy are defined in the patient coordinate system. The z axis increases toward the patient’s feet, the X axis increases toward the patient’s left side and the Y axis increases toward the front of the patient (see Figure 1)

    • The couch can be rotated around the y-axis.

    • The transversal view is normal to the z-axis.

    • The sagittal view is normal to the x-axis.

    • The coronal view is normal to the y-axis.

 
Figure 1: Patient coordinate system


  1. Gantry coordinate space

The origin is at the treatment machine isocentre. When facing the treatment machine, the x-axis points to the right, the y-axis points directly toward the machine and the z-axis points from the isocentre toward the beam source (see Figure 2).

    • The gantry can be rotated around the y-axis.

    • The collimator can be rotated around the z-axis.



Figure 2: Gantry coordinate space



<< Previous Page
Top of the Page
Next Page >>